以太坊的合并是以太坊协议短暂历史中最重大的变化,同时也对整个加密世界,尤其是web3有着重要影响。因为合并致力于解决一些先前对公链的批评,例如为什么人们不能在日常生活中广泛使用区块链技术。合并之后,以太坊有可能向公众展示该技术进程的重要性。不仅如此,web3的实用性越来越明显,以太坊以及其他协议已经提升了数字银行和DeFi的典型用例。
   
以太坊合并
AzukiDAO发布建立生态基金提案:7月8日消息,AzukiDAO发推称,其上线了AzukiDAO的第四个提案,提议建立生态基金购买蓝筹NFT的IP,促进NFT产业复苏和发展。[2023/7/8 22:25:50]
在过去的8年中,以太坊一直在使用饱受诟病的PoW工作量证明模型来创建token并运行公链。工作量证明是网络中的节点通过算力进行竞争的共识机制,通过加密算法确保链上所有活动都是符合规则的。但是PoW工作量证明依赖于越来越高的难度来确保其共识,这意味着以太坊会消耗越来越多的能源,因为加密矿工必须解决越来越难的问题来证明网络的状态。因此,也有人认为,考虑到工作量证明产生的功耗,NFT和加密货币项目的发展是不可持续的。
香港虚拟资产管理公司Artifact Labs将推出泰坦尼克号NFT和“Titanic DAO”:2月22日消息,香港证监会批准的虚拟资产管理公司Artifact Labs宣布与皇家邮轮泰坦尼克号公司的法律事务子公司RMS泰坦尼克公司(RMS Titanic,Inc.)达成合作,将基于泰坦尼克号回收的大约5,500件实物文物推出NFT系列,此外Artifact Labs 还将推出“泰坦尼克号DAO”,通过社区治理管理未来泰坦尼克号遗址潜水探险、教育计划开发、数字内容和纪录片、研究计划的提案。
Artifact Labs是一个多链NFT生态系统,由《南华早报》剥离了其基于区块链的NFT业务而成立,主要帮助将包括学校和博物馆在内的组织将财产变成数字藏品。[2023/2/22 12:22:13]
随着以太坊完成合并,上述情况发生了改变。合并PoS权益证明模型取代了PoW工作量证明模型。简而言之,合并消除了对大量挖矿算力的需求,引入了一种更加可持续的方式来达成共识。这个过程之所以被称为合并,是因为实际上信标链已经和以太坊主网一起运行了相当长的一段时间。在这段时间内,信标链一直在收集验证者,同时保留了以太坊网络以前的历史,确保只有共识方面受到影响。
鲸交所将迁移到以太坊Layer2:3月9日,去中心化交易所鲸交所和跨链DEFI协议IFSWAP宣布,将从EOS迁移到以太坊Layer2,迁移将于2021年第三季度完成,不发行新的代币,将价值沉淀在WAL和IFC上。[2021/3/9 18:28:30]
协议层的变化
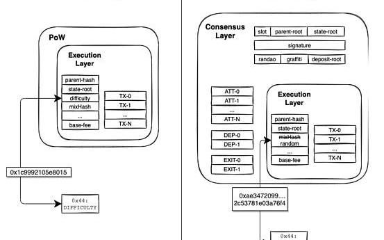
下面,我们将从技术角度来回顾一下合并到底发生了哪些变化。从技术角度来看,合并也代表了以太坊协议内层的分离。从本质上讲,会有多个具有不同角色的客户端,但如果需要,它们之间可以相互通信。
   
合并前,所有内容都被捆绑到一个客户端中。合并后则有两个客户端。其中一个客户端处理同步网络状态,而另一个客户端专注于智能合约的执行、区块生产和存储。将这些部分结合在一起的粘合剂称为引擎API,允许这些协议层的每一层彼此无缝通信。
从安全方面来看,协议层的分离实际上是相当重要的。例如,假设以太坊的执行层有一个允许回滚交易的重要错误,如果大多数网络都使用这一执行层,那么以太坊本身可能会受到损害。然而,随着协议层的分离,客户端的多样化对于以太坊的安全性非常重要,因为它减少了网络对单个客户端或执行层的依赖。
对web3的意义
Web3目前缺少的是简单好用的应用程序,或者说爆款应用。其中很大一部分原因是开发人员和公司很难适应基于PoW去构建dApp。由于以太坊是唯一能够在分布式账本上构建任何类型的实际应用程序的主流公链,合并使以太坊离实现更广泛的采用更近一步。
不仅如此,合并还使以太坊的功耗降低了99.95%。由于功耗经常被认为是区块链不能广泛采用的一个原因,合并成功地展示了区块链技术以及整个web3的可行性和可进化性。
实际上,区块链不应成为web3的全部,而是成为允许真正创建web3的各种技术的融合。未来,区块链可能只是作为该堆栈的一部分,类似于后端是全栈应用程序的一部分。换句话说,以太坊合并只是web3技术规范化的开始。以太坊从PoW转到PoS将实现更好的实用性,使区块链行业向好的方向发展。区块链的改进将深刻影响web3的其他方面,将权力和数据还给用户,进而允许更多的采用和正常化应用。
文/nothingless.eth作者授权转载,原标题:日本CryptoMarketing面面观 引言: 日本一直被认为是一个易守难攻的市场,一个类似“鸡肋”的存在.
撰文:FrankAmerica编译:aididaojp.eth,ForesightNewsWeb3世界中,Discord服务器是最常见的办公软件之一,也这导致用户的社区服务器频道数不胜数.
DeFi数据 1、DeFi代币总市值:441.15亿美元 DeFi总市值及前十代币数据来源:coingecko2、过去24小时去中心化交易所的交易量25.
如何理解Zk和OptimisticRollups的前景和区别? 撰写:Salazar.eth推文编译:深潮TechFlow人们说,如果能有一个更新,能将ETHL1的TPS提高100倍.
60岁的“星爷”周星驰要进军元宇宙了?谁能想到,向来低调的他首次注册社交账号,竟是为了发布一条招人信息,挑选的还不是新片男女主角,而是Web3人才,一脚跨界到了互联网科技领域.
原文标题:《ForesightVentures:第二代OptimisticRollup》原文作者:msfew.