稳定币是指价格波动性较低的加密货币,稳定币的价格与法定货币挂钩。例如USDT,即Tether发行的稳定币,与美元USD挂钩,1USDT约等于1美元。USDT占据了稳定币90%的交易量,是目前市场上最受欢迎的稳定币,Tether现已在Omni,ETH,TRX三大公链上进行发行。其他常见的稳定币还有USDC,TUSD,sUSD,PAX,GUSD等。那么如何查询稳定币的数据呢?当我们进行稳定币转账的时候,可能会出现长时间不到账的问题。以USDT为例,通过稳定币区块浏览器stablecoin.tokenview.com,我们就可以通过搜索转出地址、转入地址,或者该笔交易哈希,来查看该交易是否成功上链,还是处于待确认状态,或者是交易失败。
华尔街分析师:比特币的波动性与苹果或亚马逊等大盘股没什么不同:华尔街金融分析师、比特币支持者Max Keizer发推文表示,比特币的波动性与苹果(AAPL)或亚马逊(AMZN)或任何其他大盘股没什么不同。经济学家显然从未拥有过这些资产,这就是为什么没有一个经济学家是亿万富翁的原因。(U.today)[2020/5/11]

声音 | 美国众议院议员:没有什么能力能够“杀死”比特币:美国众议院议员Patrick McHenry接受采访时表示,没有什么能力能够“杀死”比特币。在被问到“你认为监管者或政客是否会允许出现比特币、Libra这种跟法币监管大相径庭的新型货币?”McHenry回应道:“没有什么能力能够杀死比特币,但是新的迭代将会试图模仿比特币,但同时又不够去中心化,不够开放,那么就会有不同的机制可能会致其于死地。”[2019/7/17]
除此之外,还可以看到USDT的发币地址,销毁地址,包括已弃用的发币地址。为了更方便的观察USDT在各大主链上的发币、销毁情况,Tokenview将它们整理到了发币列表和销毁列表中。通过列表,我们可以追溯每一次USDT的发币时间,发币公链,发币数量以及发币交易的地址、交易ID。当然,USDT的每一次销毁,也可以在这里追溯。
中国国际期货公司总裁王永利:为什么虚拟货币会引发危机:中国国际期货公司总裁王永利在其发表的文章'为什么虚拟货币会引发危机'中表示:“重视金融而忽略货币,注重货币金融的应用和热点问题的解析与应对,而忽略货币演变的真相、货币金融的逻辑,盲目追求金融发展和获利而过度脱离甚至损害实体经济,在推动金融加快发展的同时也在积累越来越严重的危机隐患,直至引发全球性金融大危机和经济大衰退。因此,重新探索货币的奥秘,有效掌控金融的魔力,准确把握货币金融的逻辑与规律,严控金融风险底线,发挥好货币金融的积极作用,控制其可能产生的负面作用,对全人类的和谐与发展都是非常必要的。这其中非常重要的一个切入口,就是准确把握记账清算及其对货币金融的深刻影响。”[2018/2/27]

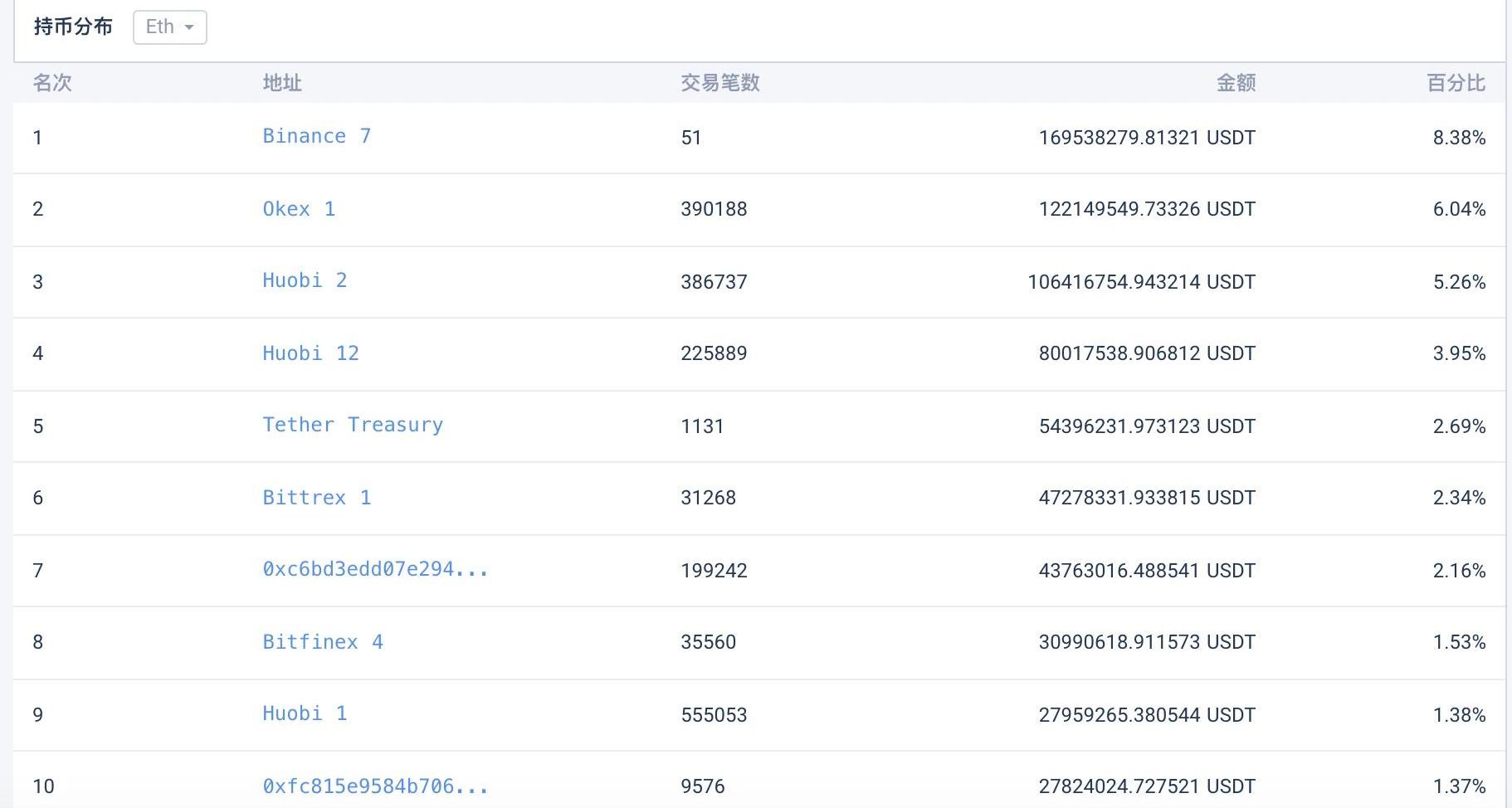
那么,如何查看USDT的持币分布情况呢?通过持币分布列表,我们可以看到USDT在Omini,以太坊,波场三大公链上的财富分布状况,除了地址余额,占比大小,还额外提供了该地址的总交易笔数,部分被标注的地址也直接在这里展示了出来,帮助我们了解USDT财富集中在谁的手中。

除了USDT,在以太坊上发布的受欢迎的稳定币USDC,sUSD,TUSD,PAX,GUSD的数据,也可以在这里进行追溯。除此之外,我们也可以通过这里的数据图表,直观地对比不同主链上USDT的每日交易笔数、每日交易总额变化情况。同时,几大稳定币的发币数量,每日交易手续费也可以帮助我们把握稳定币的数据表现。

无论是在Omini,以太坊,还是波场上发行的USDT,抑或是在以太坊上发行的USDC,TUSD等稳定币,通过这个工具都可以方便地进行一站式查询。稳定币查询工具:stablecoin.tokenview.com
作者|秦晓峰编辑|郝方舟出品|Odaily星球日报 北京时间今天下午14点,OKEx发布公告称OKChain测试网正式上线,同时宣布销毁全部尚未发行的7亿OKB.
编者按:本文来自互链脉搏,翻译:雅棋,Odaily星球日报经授权转载。2月27日消息,香港财政司司长陈茂波在周三的年度预算演讲中说,香港可能很快会加强对加密货币领域的监管,以更好地符合国际反.
关于如何证明你是中本聪的问题,答案其实非常简单;只要证明者能够从创世地址或者社区公认由创始人控制的14个地址内转出比特币,就足以证明他的身份.
编者按:本文来自互链脉搏,作者:金走车,Odaily星球日报经授权转载。去年2月18日,《粤港澳大湾区发展规划纲要》正式发布,距今恰过一周年.
通常来讲,一笔比特币交易提交之后,几秒之内便能完成全网广播;但这不代表转账完成,广播后的交易只是进入了待确认状态,和网络里面所有待确认的交易一起流入池子等待矿工将它们打包入块.
编者按:本文来自PolkaWorld,作者:JoePetrowski,Odaily星球日报经授权转载。波卡保证其平行链的有效状态转换.