撰文:KevinYang、CaraCao、LeoZhu、DamonShen,均就职于数字资产管理公司IDEG
自年初以来,一场突如其来的疫情席卷全球。世界经济继4月「大封锁」期间跌入衰退深渊之后,目前正在缓慢恢复。但随着疫情继续扩散,许多国家放慢了经济重启的进程,一些国家再度实施了部分封锁措施以保护易感人群。世界银行在今年6月份发布的《全球经济展望》报告中预测,2020年全球经济将下滑5.2%,是「二战以来最严重的经济衰退」。
为应对疫情在全球的蔓延以及资本市场的暴跌,各国央行采取了史无前例的「大放水」政策。3月15日,美联储宣布将利率降至零,并推出7000亿美元的大规模量化宽松计划。美联储总资产从2月底的4.16万亿美元迅速扩张至6月10日高峰时期的7.17万亿美元。截止10月28日,美联储总资产体量仍超过7万亿美元。
据MorganStanley的分析,2020年底G4国家央行总资产将达到25万亿美元。预计到2022年底,这一数字将进一步上升至29.30万亿美元。

数据来源:MorganStanley
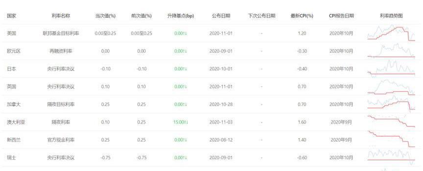
大放水的另一面是利率的大幅下降。据IDEG数据引擎显示,主要的发达国家利率已跌破或趋近于0,其中瑞士央行利率甚至达到了不可思议的-0.75%。
慢雾首席信息安全官:安全人员发现iOS 16新漏洞,建议加密货币从业者不要使用越狱设备:金色财经报道,据慢雾首席信息安全官23pds发推称,网络安全研究人员发现iOS 16存在一种新的漏洞利用后持久化技术:即使受害者的苹果设备处于离线状态,也可以利用该技术悄无声息地访问该设备。提醒加密货币从业者不要图方便而使用越狱设备。
攻击的目的是成为一种人为的飞行模式,使用户界面的变化保持不变,但为通过其他方式安装在设备上的恶意有效载荷保留蜂窝连接,从而达到悄无声息的控制设备。[2023/8/20 18:11:25]

数据来源:IDEG
以金砖国家为代表,发展中国家的利率也持续下降。

数据来源:IDEG
英国首相丘吉尔曾经说过:「永远不要浪费一场危机。」在新冠疫情叠加大放水的时代,一部分SmartMoney借助数字资产,找到了机会更大的利率市场。
一、CeFi借贷市场概况
香港区块链协会唐仪:支持同行从业者进行合规交易所牌照申请与合规运营:金色财经报道,针对香港证监会即将公布的全新虚拟资产交易平台发牌制度,香港区块链协会 HKBA 主席 Tony Tong 唐仪在接受金色财经记者采访时表示,之前香港的虚拟资产交易平台Virtual Asset Trading Platform VATP 可以选择申请牌照,也可以选择不申请-只要不涉及证劵通证 Securities Token ,那么这对于那些选择申请牌照的公司来说有点不公平,他们花费几千万成本搞合规 compliance 运营 - 买保险Crypto Assets Insurance 等。如果现在需要大家一致申请牌照,那这对行业来说更公平、更正面。
另外,针对高昂的申请、维护牌照成本, 唐仪表示,成本贵,我觉得还是对整个行业有好处的。目前,很多大型交易所运营主体在香港,包括 Tether、BitMex等,它们中的大多数都选择不去拿牌照。那现在如果要求所有交易所都拿牌照,那对行业更加公平,对用户来说也更有保障。
Tony Tong进一步表示,因为安全、合规成本很高,如果一部分平台拿牌照,另一部分没有,这就造成拿牌照的平台很难与那些没有无牌经营的平台竞争。另外,不少交易所出现严重安全问题,因此香港证监会要求平台持牌,也是从保护投资者的角度出发。
通常申请牌照需要6~12月。目前香港证监会还没正式颁发任何一张 Virtual Asset Trading Platform VATP 牌照。尽管之前BC科技集团宣布旗下OSL平台已在原则上获得证监会的原则性批准函,但这只是上市公司披露的消息,不是证监会 SFC.HK 正式发布的牌照公告。
我们做为香港区块链行业协会也非常支持同行从业者进行合规交易所牌照申请与合规运营, 并且期待政府颁发牌照促进香港区块链行业发展。[2020/11/4 11:34:28]
我们说,2020年是「真正意义上的」数字资产投资的机构元年。这不仅体现在Grayscale信托产品总资产规模突破100亿美元,更体现在数字资产借贷市场的急速发展。DeFi借贷项目的超高收益太过吸引眼球,以至于CeFi市场的发展被多数人所忽略了。
日本加强虚拟货币从业者监管,行业或面临重新洗牌:据《朝日新闻》报道,近期有多家虚拟货币从业者宣布退出虚拟货币交易行业。由于自身存在的资金管理漏洞和风险应对措施不足等问题,多家虚拟货币从业者决定撤资,远离这趟浑水。[2018/5/16]
Credmark在关于借贷市场的二季度报告中,统计了85%的借贷公司数据。报告显示,2020年第二季度CeFi存量贷款规模达46.32亿美元,环比增长90.62%;同期抵押品价值突破80亿美元,环比增长87.34%。

数据来源:Credmark
机构客户在CeFi借贷市场占据了主导地位。2020年第二季度,机构与散户的存量贷款比为3.5:1;同期的机构与散户抵押品价值比为2:1。从存量贷款与抵押品价值的比值差异中可以发现,机构客户在质押率上确实有着非常明显的优势。

数据来源:Credmark
二、CeFi借贷市场的大玩家
金色财经现场报道 金色财经现场报道 Qtum量子链创始人帅初:公众和从业者对区块链还是很多的误解:金色财经现场报道,在2018区块链技术及应用峰会上,Qtum量子链创始人帅初认为,公众和从业者对区块链还是很多的误解,大家都只看到了炒币的火热,而忽视了区块链带来的变革,特别是区块链作为免信任平台意义何在?未来会有哪些使用场景?区块链技术为我们打开了新的思路,未来我们不需要在公司的架构下,就能进行生产创造。人们从事的角色也会发生变化,在Token Economy里面,每个人都会有多重身份。关于比特币分叉,帅初表示站在软件科学的角度,比特币分叉未尝不可;加密货币注定不平凡,会受到各种监管,这条道路能走多远,取决于各方的努力。[2018/3/30]
GenesisTrading
GenesisTrading是DCG集团旗下的子公司,集OTC、衍生品、借贷、托管等多种业务于一身。Genesis的前身是SecondMarket的交易部门。DCG创始人BarrySilbert在2004年创立了私募股权交易平台SecondMarket,为未上市企业员工与早期投资者所持有股权提供交易平台,此后随着Facebook等硅谷科技公司的发展而快速壮大,其股权业务在2015年被纳斯达克交易所收购。而在此前几年,BarrySilbert已经对比特币产生了浓厚的兴趣,曾在2012年拿出17.5万美元的个人资金,以10美元的价格大量买入比特币,并在价格达到50美元时分批卖出,巨大的收益令BarrySilbert决定对该市场采取更多的行动。BarrySilbert直接推动SecondMarket成立了Grayscale和GenesisTrading的雏形部门,并在此后SecondMarket被收购时保留了上述业务。2015年,BarrySilbert将这两大板块与个人的投资业务进行整合成立了DCG,正式开启了自己在加密货币行业的「巨鲸」之路。
新闻机构从业者欲推出全新的加密货币:新闻机构从业者共同创建了一种加密货币,以保证深度新闻调查的资金支持。这种加密货币被称为PressCoin,旨在促进新闻业的资金来源多元化,并颠覆媒体巨头对新闻的把控和垄断,加强媒介作为全球公民参与手段的功能与作为公众舆论空间的影响力。[2017/11/23]
Genesis在合规方面做足了功课,持有包括Broker-dealer、BitLicense等在内的一系列牌照。良好的合规性以及先发优势,令Genesis成为了数字资产借贷市场当之无愧的领头羊。今年第三季度,Genesis新增贷款量跃增52亿美元,环比增长136%,刷新了单季度最大增量记录。截止三季度末,存量贷款规模达21亿美元,环比增长50%。

数据来源:GenesisTrading
在存款业务方面,Genesis也发展迅猛。今年第三季度,大量的机构投资人将资产存入Genesis。第三季度存款业务的机构客户数量增至165个,环比增长47%,同比增长275%。

数据来源:GenesisTrading
此外,Genesis为了拓宽借贷、交易、托管等业务管线,先后收购了QuCapital和Vo1t。QuCapital是一家量化投资公司,在2019年9月被Genesis收购后,极大增强了Genesis在交易和借贷产品上的技术实力。2020年5月,Genesis又成功收购Vo1t,把托管业务也纳入自己的版图。自此,Genesis完成了最后一块拼图,将原有的各项业务集合成主经纪商业务。
BlockFi
BlockFi成立于2017年,并获得了行业内多家顶级机构的投资,近两年在欧美散户借贷市场占据了相当大的份额。目前,BlockFi开始瞄准机构市场,同时也在亚太地区积极布局。创始人ZacPrince具有多年的在线借贷平台从业经验。有意思的是,在一次Reddit的AMA活动中,Zac还透露他是一位成功的职业扑克手。
今年8月份,BlockFi完成了5000万美元C轮融资,由摩根溪领投,CMTDigital、CastleIslandVentures、WinklevossCapital等参投。公告称,新资金将用于扩大团队规模并进一步扩展BlockFi的业务范围,包括即将发布的「比特币返利」信用卡。另外,值得一提的是,BlockFi的托管商是Gemini,它获得WinklevossCapital的投资也就不难理解了。

数据来源:IDEG
也许BlockFi在业务体量上还不是第一,但在业务创新能力方面却出类拔萃。通过借贷业务的延伸,BlockFi成为了Grayscale比特币信托最大的股东。截止2020年10月,BlockFi一共持有GBTC信托5.07%的份额。根据当时的市场价格计算,该笔资产约为3.28亿美元。正如BlockFi创始人Zac所说,投资GBTC是其为更好服务客户的努力之一。
DrawBridgeLending
DrawBridgeLending因其团队深厚的传统金融资历以及股东背景,不得不引起行业的高度重视。DrawBridge成立于2018年,是美国商品期货交易委员会CFTC认证的合规商品交易顾问、商品基金经理。DrawBridge团队成员长期深耕于传统金融行业,在交易、经纪、贷款、法律和金融方面拥有丰富经验,并以衍生品投资策略的创新著称。DrawBridge在结构化产品方面具有很强的业务能力,目前已推出数字资产商业贷款/高净值人士个人贷款、混合投资贷款以及个人退休账户贷款。DrawBridge的贷款优势在于低息且没有「margincall」。据其官网披露的数据,截止2020年7月,DrawBridge的资产管理规模已突破1.5亿美元。
2020年11月13日,美国数字资产商业银行GalaxyDigital宣布收购DrawBridge以及另一家做市商BlueFireCapital。GalaxyDigital是全球首家专注于数字资产领域的多策略全方位商业银行,经营包括投资、交易、咨询、证券经纪、资产管理等多项业务。公司由华尔街传奇亿万富豪MikeNovogratz创办,立足于打造数字资产领域的「高盛」。MikeNovgratz曾是对冲基金巨头峰堡投资集团的首席投资官。此次收购对于GalaxyDigitalTrading而言具有重要的战略价值。GDT是GalaxyDigital的四条主业务线之一,每年的OTC交易量超过40亿美元,在机构市场占据了不小的份额。通过收购DrawBridge,GalaxyDigital将大大提升在借贷和结构化理财产品方面的业务能力。
行业展望
除了上述的三家机构,数字资产借贷领域还有更多大家所熟识的玩家。如亚太地区就有贝宝金融、Matrixport、RenrenBit等多家机构,且占据了亚太市场的主要份额。而欧美地区的Coinbase、BitGo、甚至Blockchain.com等公司,也在积极开拓借贷市场。根据2020年11月24日的官方消息,日本金融巨头SBI集团通过其子公司SBIVCTrade,正式推出数字资产借贷服务。随着越来越多行业内外的机构入局,数字资产借贷行业开始进入激烈竞争的格局。
而在传统市场玩家陆续进场之际,我们看到的是,两个市场的资本在加速融合。大放水时代巨量的低成本资金,借道数字资产完成了利率套利,同时也造就了当前DeFi与CeFi市场的热潮。未来的行业生态将犹如孢子游戏中的生物,以不断涌入的传统资本为催化剂,快速繁衍、迭代、进化。借贷市场的繁荣,也将极大提升数字资产在传统世界的影响力,从而推动整个行业的可持续发展。
2020年,流动性挖矿带来的Defi热潮加快了加密货币的金融化演进,合成资产也应运而生,带来了全新的链上金融衍生品形态.
本文发布于巴比特,作者:隔夜的粥。DeFi火了,NFT也火了,这带动了以太坊、波卡等一批新老公链,但当成千上万的用户带着资金涌入这些网络的时候,一些潜在的问题却变得更为突出了……近期,以太坊联合.
本文最早发布于Medium博客,经原作者授权由InfoQ中文站翻译并分享。当我开始在加密货币行业全职工作时,我认为这是有史以来最酷的事情。感觉就像是金融世界终极革命的一份子.
链捕手消息,据欧科云链OKLink数据监测,近24小时Uniswap的交易量出现异常增幅。Uniswap官方数据页面显示24小时交易量已经超过230亿美元,较前日增长453%.
虽然Filecoin主网上线才5个月,但Filecoin网络已经拥有了Web3中最活跃的开发者生态之一(https://outlierventures.io/wp-content/uploads.
链捕手消息,Aave创始人StaniKulechov在推特上表示,在JackDorsey表示他正在开发一个新的以比特币(BTC)为中心的金融服务平台后.